广东奥迪威传感科技有限公司
 
 
开云网页版登录入口

开云网页版登录入口

分类
FS0001

超声波流量计

超声波流量计是能直接输出数字流量信号的管段式超声波流量传感器,是通过测量超声波脉冲顺流传播和逆流传播的时间差来进行流量测量的。它包含一对主-从连接的超声波流量传感器以及测量管段,集成了对超声波传播的时间差信号进行运算处理的电路模块,并通过串口方式输出瞬时流量、总流量以及水流状态等数字式信息。主要应用于家庭智能水管理系统、滴漏检测、智能灌溉系统等。
样品申请
产品特点

 

- 特种工程塑料一体成型管体,强度高,一致性好

- 测量精度高达2%,不受介质的粘度、导电性影响

- 量程比最高可达160

- 通过国家饮用水卫生等级GBT17219标准认证

- 数字信号输出,M-BUS协议通信

 

产品规格
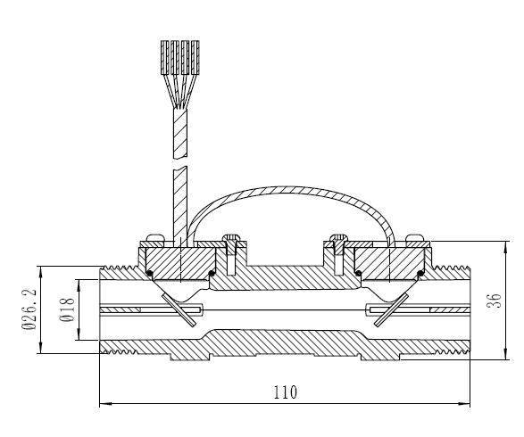
超声波流量计FS0001尺寸图.jpg
产品性能
项目参数
管径DN 15
测量范围1.5-3000 L/h
精度

25~35°C: ≤±2%

Others: ≤±3%

工作电压3.1-3.7V
耐压1.6Mpa
工作温度+0.1℃~+50℃
产品应用
-   家庭智能水管理系统
-   滴漏检测
-   智能灌溉系统
-   工业设备水管理系统

购买样品
推荐产品
关注我们
Copyright © 2022  开云网页版登录入口  粤ICP备2021071924号 All Rights Reserved